铝合金锻件特性
铝合金密度小,其密度只有钢的三分之一(铝合金密度2.7g/cm3,钢密度7.85g/cm3),是轻量化的理想材料;铝合金比强度大、比刚度大、疲劳强度高,宜用于轻量化要求高的关键受力部件;铝合金塑性较好,可加工各种形状复杂的高精度锻件;铝合金锻件具有良好耐腐蚀性、导热性和非磁性,这是钢锻件无法比拟的。
⑴铝合金锻件发展迅速。
近年来,汽车用铝合金锻件获得快速发展,根据资料介绍,美国每辆轿车铝合金使用量(锻件、冲压件)达到36.3%,欧洲和日本每辆轿车铝合金锻冲件也达到18%以上。国产轿车铝合金锻件使用量较少,尚不到5%。汽车专家预测,今后我国将有越来越多铝合金锻件替代钢质锻件。
汽车和摩托车铝合金锻件发展迅速,例如汽车前杠杆,若用铝合金代替钢铸件,重量下降43%。使用锻铝活塞,发动机功率增加10%。悬挂零件大多数为铸铁件,采用铝合金锻件代替铸铁件可减重35%~40%,相对铝铸件减重25%,所以减轻汽车重量,铝合金锻件具有很大优势。另外,高速列车轻量化也促使其采用铝合金锻件。
⑵采用铝合金锻件在国际上是一种发展趋势。
1)欧美日汽车广泛采用铝合金锻件:因为汽车轻量化具有重要意义(一辆轿车重量减轻10%,油耗可降低8%~10%。燃料消耗减少,排放气体中含有CO2等有害气体也就减少了),欧美日汽车巨头都纷纷投入大量人力、财力研究降低汽车重量,采用铝合金代替钢材制作部分零件。
2)铝合金锻件在国际上是一种发展趋势:大多数铝合金锻件用于汽车车桥、底盘构件。例如德、日、美采用锻造或摆辗生产轮毂(图1)、传动轴、悬挂件等铝合金锻件,例如图2 铝合金控制臂已广泛应用于轿车。另外还有发动机零件,如连杆、活塞等铝合金锻件。随着汽车工业安全环保和节能要求的提升,汽车轻量化要求不断加强,促使铝合金锻件快速发展。

图1 铝合金轮毂
图2 铝合金控制臂
据统计,铝锻件在世界锻件总量中由1985 年的0.5%上升到2002 年15%,17 年铝锻件在锻件总量中增长30 倍。又经过近20 年发展,至今更获得大发展。随着节能环保的发展,今后铝合金锻件必将有很大发展。
与钢锻件分类方法相同,铝合金模锻件按其结构可分为短轴类锻件和长轴类锻件两大类,长轴类锻件又可分为直长轴类和弯长轴类锻件,工艺过程特征也基本相同,当然,也有铝合金模锻件自身特点,如下将详述。
铝合金锻件图设计与钢锻件图设计内容基本相同,确定分模面位置和流线方向、机械加工余量和公差、模锻斜度、圆角半径、冲孔连皮形状和尺寸、腹板厚度和腹板的宽厚比、筋板的高宽比等。铝合金锻件
但是,由于铝合金与钢可锻性不同,铝合金锻件图设计也有其自身特点和不同之处。例如铝合金锻件对流线方向和应力腐蚀特别敏感,还影响锻件力学性能,故在锻件图设计时应特别注意流线方向和力学性能。另外,其圆角半径、模锻斜度等比钢稍大,而加工余量和公差比钢稍小。
⑴流线影响铝合金锻件力学性能。
流线分布是铝合金锻件结构要素设计的重要特点,流线分布对铝合金性能有很大影响,流线不顺、涡流和混流都使铝合金的塑性指标、疲劳强度和抗腐蚀性能明显降低,尤其是对应力腐蚀最敏感的短横向流线方向设计。
铝合金模锻件金属流线方向是决定锻件力学性能的关键因素之一,多数铝合金模锻件均要求检验金属流线方向,应尽可能使金属流线沿着模锻件截面外形分布,避免流线(纤维组织)被切断(图3)。同时还应考虑锻件工作时的受力情况,应使流线与剪应力方向相垂直。因此选择分模线位置时还要特别考虑变形均匀,尽可能选用筋顶分模,即以反挤压成形,流线沿着锻件外形分布是理想的。
图3 各种汽车控制臂理想的流线分布
⑵影响流线方向的因素。
影响流线方向的因素很多,如坯料形状和尺寸、模锻时坯料放置方向、分模面(线)位置、模具结构、锻造工艺方法、润滑和加热均匀性、打击轻重等。流线方向和分布是影响抗应力腐蚀的重要因素之一,铝合金模锻件流线设计比钢锻件更重要,对应力腐蚀特别敏感的高强度铝合金尤为突出。因此,在设计铝合金锻件图、模锻工艺及模具时应充分了解各种因素对流线分布及流线方向的影响,特别要注意对应力腐蚀最敏感的短横向流线方向。此外还要注意要避免飞边剪切面流线末端外露,这将加速应力腐蚀,而且铝合金锻件损坏易产生在切边处,故应尽量采用闭式模锻。
流线存在使铝合金锻件性能产生各向异性,锻件力学性能沿锻件流线方向为最好,故在实际工程中,应使流线(纤维组织方向)顺锻件承载方向,这样承载能力强。故选择坯料和工艺设计时,应使坯料流线方向尽量符合锻件使用要求。例如,图4 铝门铰链要求流线顺凸台长度方向分布,故模锻时,原材料轴向应顺凸台方向放置。
图4 铝门铰链
⑴概述。
众所周知,分模线(面)是模锻件最重要也是最基本的结构要素。在设计锻件图时,首先对零件进行工艺分析,并确定分模线(面)。因为分模线位置直接关系到锻件品质和工艺稳定性、材料利用率和锻造操作,还关系到模具制造周期和成本费用等一系列问题。铝合金锻件
⑵分模线(面)与流线特征。
锻件分模线(面)直接影响金属流动,例如图5a 所示的分模面,以反挤压成形,流线沿着锻件外形分布是理想的。而图5b 所示分模面,以镦挤成形,在内圆角处容易形成折叠、穿晶以及不均匀晶粒结构,故应尽量不采用。若锻件结构需要采用,应采取措施防止穿晶折叠产生,所以对铝合金锻件分模线(面)选择应引起高度重视。
图5 分模面位置对流线影响
⑶分模面选择原则。
铝合金锻件分模面选择原则与钢锻件基本相同,但也具有铝锻件自身特殊要求。
1)保证锻件容易从型槽(模膛)顺利取出。
2)有利金属充满型槽,尽可能获得镦粗成形,并使模膛尽可能最浅,宽度最大。
3)尽量采用平面分模或尽可能地接近一个平面,这样模具结构简单,制造方便,模锻过程较空间分模易于成形,废品率也低。
4)对于折线和空间曲线分模,应使各部分与水平面之间的夹角小于60°(图6a)。这种分模线(面)可改善模锻和切边的条件。若夹角大于75°,切边时易拉出毛刺和挤裂。
图6 各种锻件分模面
5)分模面应使切边时定位准确和方便,切边刃口光洁。
6)金属流动方向合理(变形均匀和流线优异)。分模面位置应使锻件纤维流线方向与锻件外形相符,即符合锻件受力方向。这是因为顺着纤维流线方向强度和韧性最大,其他方向强度和韧性较小。例如某铝合金锻件测量数据充分说明,顺着纤维流线方向的延伸率超过15%,而垂直纤维流线方向的延伸率只有5%~8%。如前所述,铝合金锻件应特别注意流线方向和变形均匀。若分模面选取不合理,容易使锻件流线紊乱,切除飞边后流线末端外露,而且铝合金锻件更容易在分模面处产生穿流、穿晶和折叠等缺陷,从而降低其疲劳强度。
铝合金模锻件加工余量和尺寸公差可按产品和用户提出的尺寸加工余量和公差要求确定,或可按GB/T 8545-2012《铝及铝合金模锻件的尺寸偏差和加工余量》确定,并获得用户同意。铝合金在锻造过程中的表面氧化、污染以及金相组织变化不明显,也不会产生脱碳缺陷,所以加工余量比钢稍小。
模锻斜度是为了便于锻件从模膛中取出。铝合金摩擦系数比钢大,粘附力强,容易粘模,因而模锻斜度比钢锻件稍大。在实际生产中为了便于锻件起模,通常外模锻斜度取3°~5°,内模锻斜度取7°~10°。若模具有顶出装置,且润滑良好和模膛光洁,也可采用较小模锻斜度0.5°~1°。但是,对于模锻方向较高的锻件,模锻斜度宜取3°及以上。铝合金锻件
铝合金流动性比钢差,摩擦系数比钢大,因而铝合金锻件的圆角半径应比钢锻件稍大。对铝合金锻件来说,设计圆角半径尤为重要,所以如果产品结构允许,圆角半径应尽可能增大。但是也不可能过大,否则增加锻件重量。
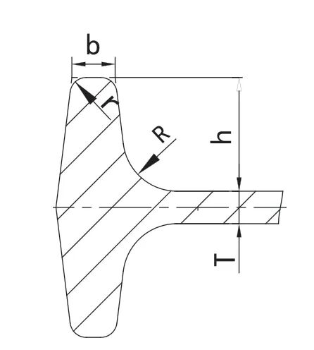
⑴锻件凹圆角半径R(模膛凸圆角),影响金属流动和锻件重量。
锻件凹圆角半径R 增大,有利于金属流动顺畅,流线均匀。减少锻造缺陷,降低金属流线紊乱起着很重要作用。过小的凹圆角半径R 不仅使金属流动困难、纤维组织易折断,而且会使锻件产生折叠。如果锻件允许,应加大锻件凹圆角半径,特别是筋和腹板过渡凹圆角半径R 更应加大(图7)。
图7 筋与腹板
⑵锻件凸圆角半径r(模具凹圆角)影响锻件变形抗力和模具使用寿命。
锻件凸圆角半径r 增大(图7),不仅可降低变形抗力,而且减少模具根部应力集中,防止模具产生裂纹和开裂,提高模具使用寿命。为防止铝合金锻件切边后在分模面产生裂纹,在飞边桥部出口圆角半径要比钢锻件大30%。
筋和凸台都是锻件上自腹板向外凸出的、起一定作用的组成部分(图7)。筋的长度、宽度b 和高度h都直接影响锻件充满性以及是否产生折叠等缺陷。铝合金流动性差,设计时应引起重视。
一般锻件腹板上的筋长度均较长,筋的高度和宽度之比最大约为6。和钢锻件一样,当铝合金锻件筋的高度h 和宽度b 的比值大于2.5 时,充满困难,且变形抗力增大。
当工字形腹板宽度(筋间距)B 较大时,即腹板宽度与厚度T 比值大于3 时,极易产生穿晶折叠,如果产品允许,应加大筋和腹板之间的圆角半径R(图7),并应设置预锻成形,严格控制筋和腹板部位的坯料面积和体积,一般预锻截面积和体积仅比终锻对应截面积和体积稍大1%。
铝合金模锻件允许的最小腹板厚度见表1(供参考),薄腹板锻件一般均为复杂件,金属流动性差,而且变形抗力大,又极易产生各种缺陷,一般需要设计预镦工步。
表1 分模面投影面积与允许的最小腹板厚度